7*24 快讯

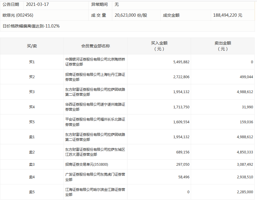
欧菲光跌停,一券商营业部净买入550万元

欧菲光今日一字跌停,盘后数据显示,买入席位多为券商营业部,其中买一中国银河证券股份有限公司北京陶然桥证券营业部买入550万元。此外,东方财富证券股份有限公司拉萨团结路第二证券营业部卖出500万元又买入200万元。

风险提示及免责条款
市场有风险,投资需谨慎。本文不构成个人投资建议,也未考虑到个别用户特殊的投资目标、财务状况或需要。用户应考虑本文中的任何意见、观点或结论是否符合其特定状况。据此投资,责任自负。