7*24 快讯

长源电力盘中上演地天板,一个机构席位卖出逾5000万元

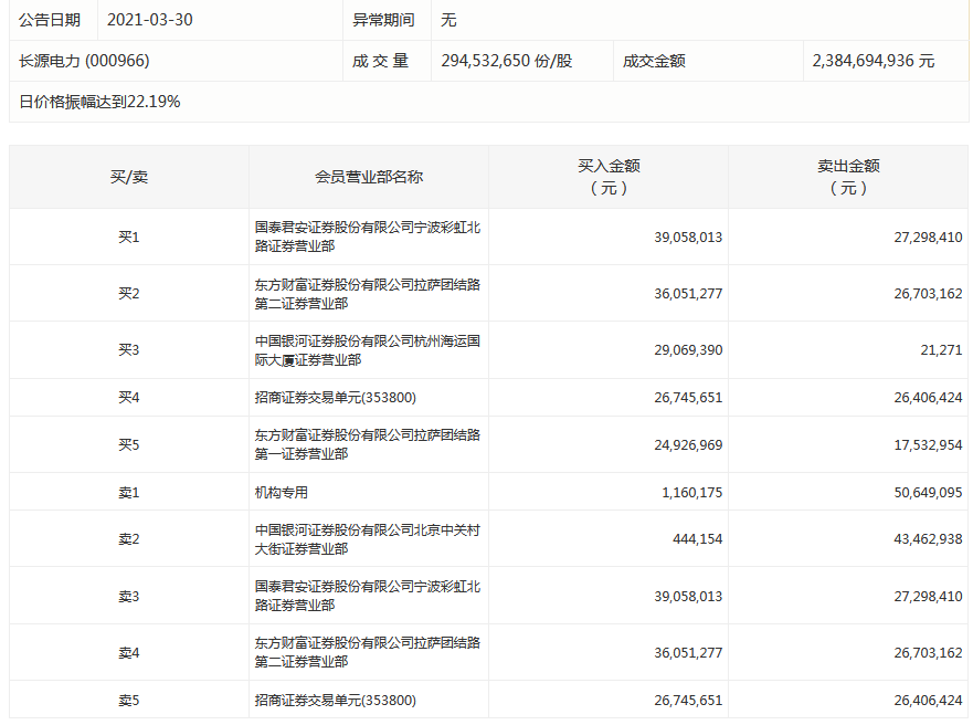
碳中和概念股长源电力今日盘中上演地天板,收涨9.75%。龙虎榜数据显示,该股买方前五席位均为券商营业部,且同时进行大额卖出交易。如:买一席位国泰君安宁波彩虹北路买入3906万元并卖出2730万元。卖一为机构席位,卖出金额5065万元;卖二中国银河证券北京中关村大街卖出4346万元。

风险提示及免责条款
市场有风险,投资需谨慎。本文不构成个人投资建议,也未考虑到个别用户特殊的投资目标、财务状况或需要。用户应考虑本文中的任何意见、观点或结论是否符合其特定状况。据此投资,责任自负。